名稱:全伺服安全聯鎖風門
分類:礦用風門
咨詢熱線:13345287774
聯系我們
詳細說明:
為了確保生產安全,煤礦安全規程規定,煤礦必須有獨立完善的通風系統。為此必須在井下通風巷道建造風門、閉墻、風橋等通風設施。風門是煤礦井下生產中最常見的通風設施之一,其作用主要是調節風量、通車、行人等。煤礦井下通風系統中,風門是隔斷礦井下進、回風風流,但又要能保證人車通行的一種設施。根據通風安全質量標準,一組風門至少需要安裝兩道風門,而且在人車通過時不能同時開啟。現有技術中主要有利用閉合回路液力推動插銷,以井下電源為動力的電子閉鎖,輪式拉線閉鎖等設備。這些設備大都需要外界的風或電等動力源,不同程度存在部件配合不夠緊密,安全性差,運行時效短,可靠性能不確定的問題。
現有的風門通常采用傳統的木門結構,也有木板外包鍍鋅鐵皮,以求美觀。木材是可燃材料,易吸水、易變形、易腐蝕,作為井下采煤的特殊場合,強度也不足以達到承受支撐的作用。也有鋼板制作,外涂油漆。但煤礦井下濕度大,銹蝕嚴重,難以持久。
全伺服安全聯鎖風門是一種使用萬便,安全可靠,可重復使用,防火、抗腐蝕,堅固耐用,密封性能好,高品質的煤井用風冂。
為解決上述技術問題,本實用新型所提供的技術方案是:
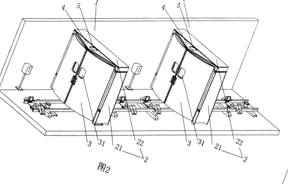
全伺服安全聯鎖風門,包括兩道風門,兩道風門之間開閉合互鎖,每道門包括門框和門扇,還包括控制門扇開合的氣壓控制系統,門框包括兩邊的門柱和頂箱,所述的門扇為弧形,上設有觀察窗:頂箱前面還設有三角蓋板,三甬板上設有供氣壓控制系統卸壓用的卸壓孔;所述的頂箱內部填充阻燃聚氨酯發泡材料。
全伺服安全聯鎖風門門框和門扇為鋼結構,外表面還增設有阻燃纖維增強塑料層。
全伺服安全聯鎖風門兩道風門關門時的防擠人距離為0 · 4一一0 · 6mo

礦用自動連鎖風門門扇為弧形以提升其剛度及外觀效果。頂箱前面還設有三角蓋板,可拆卸以維修或更換頃箱內驅動機構。三角蓋板上設有供氣壓控制系統卸壓用的卸壓頂箱、門柱和門扇,全部以鋼結構為骨架,骨架間填充阻燃聚氨酯泡沫材料,以提高整體強度;外表涂覆阻燃纖維增強塑料。提升了防腐性能、門體強度、美化外觀效果。
由氣壓控制系統控制門扇開合,省時省力控制準確,能夠實現自動控制,效地減輕了勞動強度;采用鋼結構制作,能夠避免風門長期使用產生變形,以實行大批量下業化生產;阻燃發泡聚氨酯填充,在幾乎不增加重量的情況下,大幅度提高了門體強度,同時具有防火性能;采用組裝式結構,便于重復拆裝使用;門扇的設有觀察窗便于觀察門后情況。整套風門結構緊湊,外形標準,外露部分不易拆卸。可以實行工業化生產,也為礦井標準化建設創造了條件