礦用硬質快速門和煤礦防火卷簾門的區別
作者: 礦用風門來源: 互聯網
礦用硬質快速門其結構簡單,操作方便,安全實用,方便推廣。
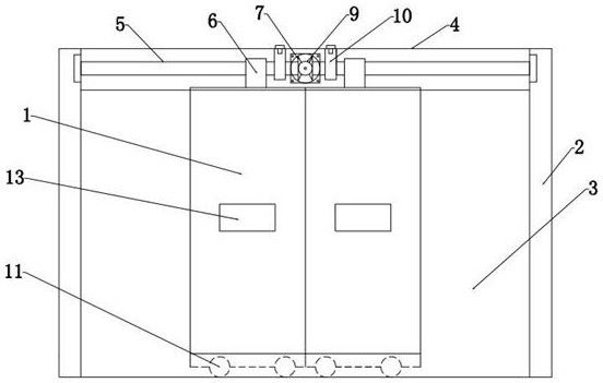
新型硬質快速門,包括:對稱設置的移動門板、門框立柱及保護板,所述門框立柱焊接在保護板的兩側,所述門框立柱的上端連接有空心橫柱,所述空心橫柱與保護板的上端焊接在一起,所述空心橫柱的內部設有對稱的螺旋絲桿,所述移動門板的上端設有與螺旋絲桿配合的螺母塊,所述螺旋絲桿的一端連接設有被動錐齒輪,所述空心橫柱上設有電機,所述電機的輸出軸上連接有驅動被動錐齒輪運動的主動錐齒輪。本實用新型提供的一種新型硬質快速門,生產簡單,成本低,安全性高。
礦用硬質快速門包括:對稱設置的移動門板、門框立柱及保護板,所述門框立柱焊接在保護板的兩側,所述門框立柱的上端連接有空心橫柱,所述空心橫柱與保護板的上端焊接在一起,所述空心橫柱的內部設有對稱的螺旋絲桿,所述移動門板的上端設有與螺旋絲桿配合的螺母塊,所述螺旋絲桿的一端連接設有被動錐齒輪,所述空心橫柱上設有電機,所述電機的輸出軸上連接有驅動被動錐齒輪運動的主動錐齒輪。
硬質快速門兩個螺旋絲桿的轉動方向相反,所述螺旋絲桿上的螺母塊與被動錐齒輪之間設有固定塊,所述固定塊通過螺栓固定在空心橫柱上,且通過焊接固定。移動門板的下端設有滾輪。兩移動門板接觸端設有插接件,所述兩移動門板上設有觀察窗。
礦用硬質快速門結構簡單,生產工藝簡單,造價低,通過螺旋絲桿帶動門板移動,能夠精確控制門板的運動距離,通過同一個電機驅動兩個門板運動,運動同步且結構簡單,門板接觸端設有插接件,安全性較高,不易被強行打開。

礦用硬質快速門和
礦用防火卷簾門相比,比卷簾門開啟速度快,遇到緊急情況可以快速的打開門,防火卷簾門需要用到電機拉動卷簾門或者手動輪拉器卷簾門,所以煤礦倉庫或者庫房選擇礦用硬質快速門是首選。